海南信途网络科技有限公司
  • 首页
  • 企业简介
  • 产品大全
  • 联系我们
  • 企业信息
  • 在线留言
当前位置: 首页 > 产品大全 > 科创板IPO申报公司泽达易盛“已问询”

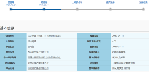
科创板IPO申报公司泽达易盛“已问询”

科创板IPO申报公司泽达易盛“已问询”

如若转载,请注明出处:http://www.dj999999.com/product/570.html

更新时间:2026-01-19 03:22:25

最新产品 Product
  • 扬州非标点胶机生产厂家与软件开发 创新驱动定制化解决方案 扬州非标点胶机生产厂家与软件开发 创新驱动定制化解决方案
  • 中国电信星辰软件工厂重磅发布 国内首款破局性AI开发工具 中国电信星辰软件工厂重磅发布 国内首款破局性AI开发工具
  • 12寸大型工业参数采集器的软件开发技术解析 12寸大型工业参数采集器的软件开发技术解析
  • 零代码与低代码开发平台 如何选择适合您的软件开发方案 零代码与低代码开发平台 如何选择适合您的软件开发方案
  • 应用程序编程接口(API)与软件开发思路 应用程序编程接口(API)与软件开发思路
  • 软件开发中的手上模糊背景按钮设计 软件开发中的手上模糊背景按钮设计
  • 软控股份收购最新消息及其软件开发业务概述 软控股份收购最新消息及其软件开发业务概述
  • 软件开发 驱动汽车智能化与工业数字化的核心引擎 软件开发 驱动汽车智能化与工业数字化的核心引擎
  • 英特尔两大发布加速FPGA应用开发,软件生态迎来新突破 英特尔两大发布加速FPGA应用开发,软件生态迎来新突破
  • 传统实体产业进销存管理解决方案 软件开发助力企业降本增效 传统实体产业进销存管理解决方案 软件开发助力企业降本增效

Copyright © 2026 www.dj999999.com 软件开发 海南信途网络科技有限公司 版权所有 Sitemap